走进耐得
新闻资讯
产品实物展示
PRODUCT PHYSICAL DISPLAY
PRODUCT CENTER
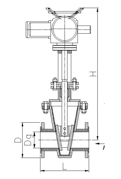
电动衬胶闸板阀结构示意图
电动衬胶闸板阀Z942J-16C主要外形尺寸和重量
电动衬胶闸板阀Z942J-40C主要外形尺寸
相关阀门推荐:电动管夹阀、手动衬胶闸板阀、蜗轮衬胶闸板阀