走进耐得
新闻资讯
产品实物展示
PRODUCT PHYSICAL DISPLAY
PRODUCT CENTER
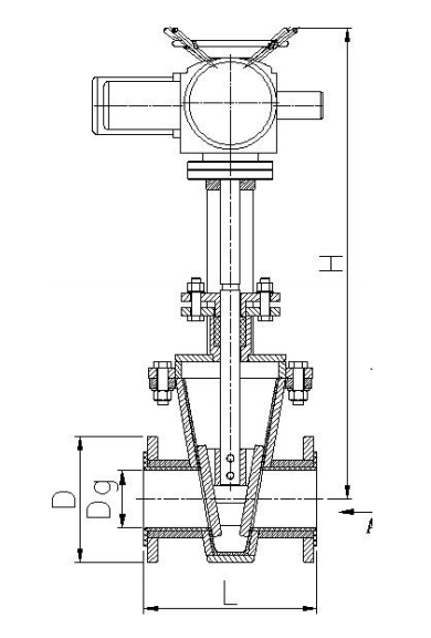
电动衬胶闸板阀结构示意图
Z942J-16C电动衬胶闸板阀主要结构参数和重量
Z942J-40C电动衬胶闸板阀主要结构参数
相关阀门推荐:手动衬胶闸板阀、电动胶管阀、衬胶止回阀