PRODUCT CENTER
|
产品名称 |
电动衬胶闸板阀 |
|
应用范围 |
冶金、矿山、发电、煤炭、化工、水利等浆体管道输送系统; 起截止液流作用,不能做调节阀使用,只能全开全闭,安装无方向限制 |
|
型号规格 |
LAD-Z942J DN40-DN800 |
|
阀体材质 |
碳钢 |
| 衬胶材质 |
天然橡胶/EPDM/丁基橡胶等 |
|
压力/温度 |
0.6Mpa/1.0Mpa/1.6Mpa/2.5Mpa/4.0Mpa / -35℃~+130℃ |
|
法兰标准 |
国标 PN10/16/25/40 、美标ANSI 150LB 等其他标准 |
|
适用介质 |
污水、矿浆、酸碱性介质等 |
|
控制条件 |
电动执行机构 |
|
阀门优点 |
双面弹性密封;密封性能好,密封可靠; 流体阻力小,密封面受介质的冲刷和侵蚀小; 开闭省力,可手动或蜗轮,也可电动等远程控制; 介质流向不受限制,无扰流,无压降; 结构长度短,整个阀体内表面衬橡胶,高耐磨耐腐蚀 |

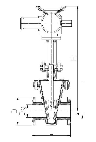
电动衬胶闸板阀结构示意图
Z942J-16C电动衬胶闸板阀外形尺寸
Z942J-40C电动衬胶闸板阀外形尺寸